亚盈体育
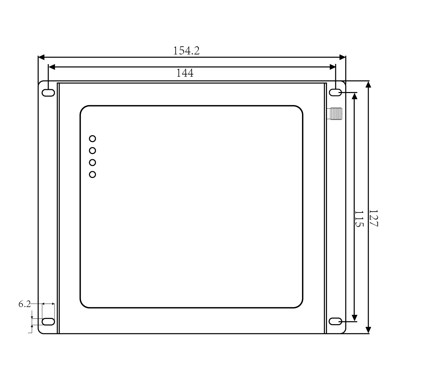
SL-RTU200@I8
远程遥测终端
满足水文水利行业规约
采集和传输一体化设计,通信稳定
设备超低功耗设计,具有多种工作模式
高稳定性和工业级设计丰富可拓展的外设接口,可支持接入雨量、水位等多维传感器数据
服务热线
400-655-2828
项目咨询
填写表单,让销售与您联系
售后咨询
售后客服为您答疑